近日,江蘇章澤天文化發展有限公司新增多條 “奶茶媽咪”“奶茶寶寶”“奶茶寶貝”等商標,商標國際分類涉及日化用品、教育娛樂、餐飲住宿等,申請日期為2020年6月9日,商標狀態... 詳情>>
網絡熱詞 “我裂開了”已被申請商標,申請日期為今年7月,商標名稱為“我裂開了”,申請人為林明海,商標國際分類包含廣告銷售、科學儀器、網站服務等,目前商標狀態為“等待... 詳情>>
近日,蘇寧易購集團股份有限公司申請 “蘇寧大藥房”、“蘇寧健康”商標,國際分類為醫療園藝、廣告銷售,申請日期為2020年11月16日,商標狀態為商標申請中。... 詳情>>
近日,北京嘀嘀無限科技發展有限公司新增 “滴滴跑腿”商標申請,國際分類為運輸貯藏,商標狀態為商標申請中。據報道,滴滴跑腿業務由原來的代駕團隊負責,于今年3月10日宣布上... 詳情>>
近日, B站關聯公司上海幻電信息科技有限公司新增多條“一鍵三連”的商標信息,類別包括社會服務、科學儀器、網站服務、廣告銷售等,申請日期為2020年10月26日,目前商標狀態為“... 詳情>>
近日,騰訊科技(深圳)有限公司新增一條名稱為 “長鵝教育加速器”的商標申請信息,國際分類為科學儀器。... 詳情>>
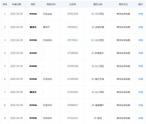
近日,杭州網易云音樂科技有限公司新增 “云貝”商標信息。商標申請時間為2020年11月13日,注冊號為51234875,國際分類為金融物管,商標狀態為“商標申請中”... 詳情>>
近日,特步(中國)有限公司新增一條 “特別服”商標信息。商標申請時間為2020年11月13日,國際分類為皮革皮具,商標狀態顯示為“商標申請中”。值得注意的是,此前特步(中國)... 詳情>>
近日,上海勁焱文化傳媒有限公司新增多條 商標信息 ,商標名為 “少管我”,國際分類包含教育娛樂、食品、珠寶鐘表、皮革皮具等,目前商標狀態多為商標申請中。... 詳情>>
近日,北京字節跳動科技有限公司新增一條名為 “抖音電商”的商標信息。商標申請時間為2020年11月12日,國際分類為廣告銷售,商標狀態為“ 商標申請 中”。... 詳情>>
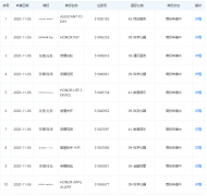
近日,華為技術有限公司新增多條商標信息,商標名為 “榮耀視頻”“榮耀錢包”,申請日期在11月6日。其中“榮耀視頻”的商標國際分類涉及教育娛樂、科學儀器;“榮耀錢包”的商... 詳情>>
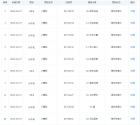
近日,騰訊科技(深圳)有限公司新增多條 “微信豆”商標信息。 商標申請 時間為2020年10月29日,國際分類涉及金融物管、通訊服務、網站服務等,商標狀態為“商標申請中”與“等... 詳情>>

